1.4 DATASHEET SENSOR HEAD
Sensor head

Description
Sensor head for Blaxtair 3 - Pedestrian proximity detection system

Certifications and approvals
Standards | Type |
Water/dust protection | IP69K |
Vibrations | According to IEC 60068-2-64 |
Shocks | ISO 16750 |
Region | Regulatory compliance/quality marks |
Europe | CE |
Installation / configuration notes
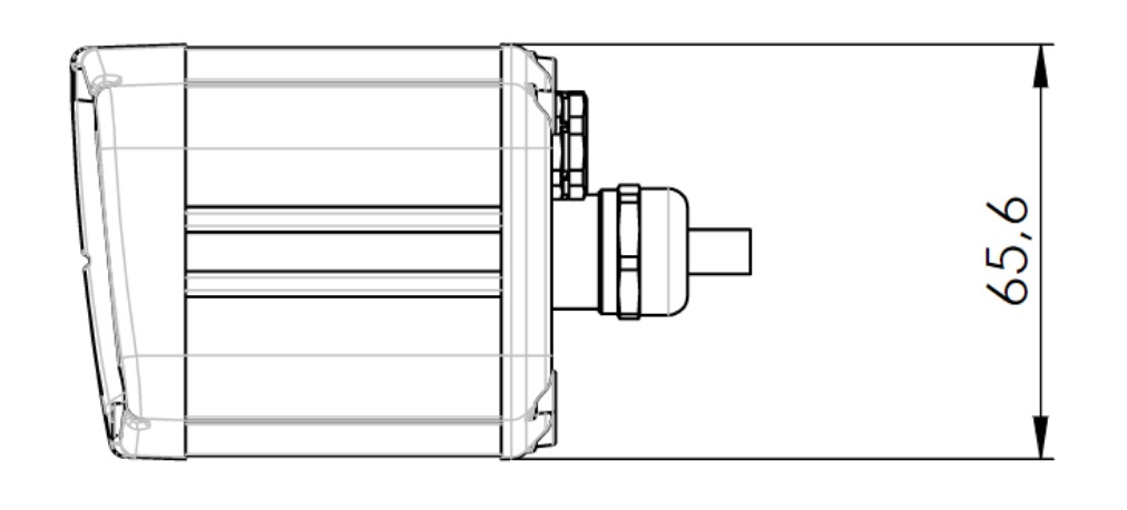
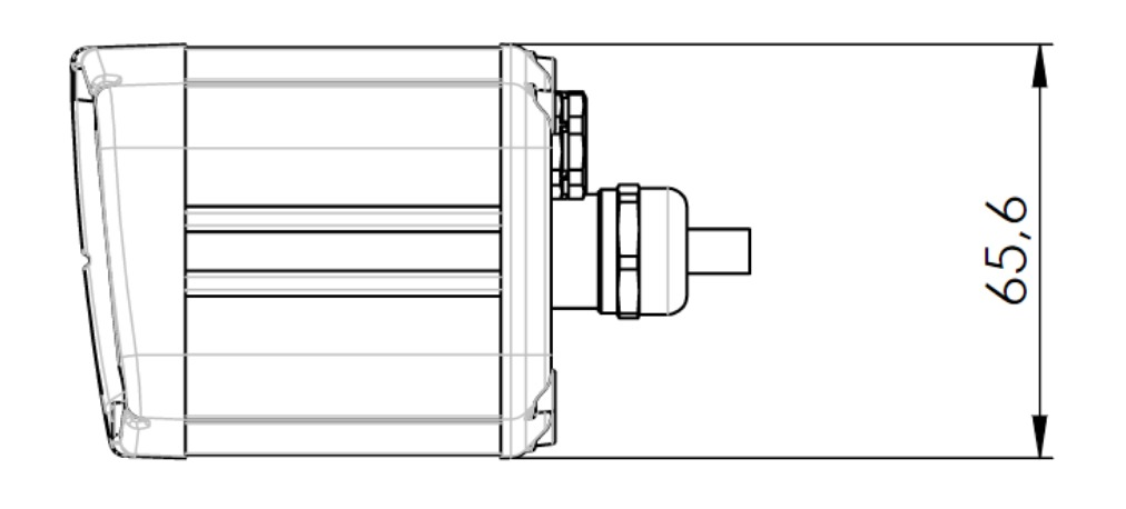
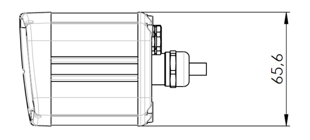
Sensor head | ||
|---|---|---|
Front view | Left side view | Bottom view |
![]() | ![]() | ![]() |
Technical specifications
User connection
Video out connector | |
Model | WEIPU WF16J10TE |
Gender | male |
Construction
Dimensions (L x W x H) | 186.8 mm x 97.5 mm x 65.6 mm |
Weight | 1.39 Kg |
Video out cable (L) | 0.5 m |
Housing material | Zamak ZP5 / Aluminium EN AW-6060 |
Housing color | Grey |
Video out cable's sheath color | Black |
View Window | 3,3mm thick borosilicate glass |
Environmental
Operational Temperature | -40°C to +75°C (-40 °F to 167 °F) |
Storage Temperature | -40°C to +75°C (-40 °F to 167 °F) |
Cold / Hot Start | -40°C to +75°C (-40 °F to 167 °F) |
Ordering information
BXT3-SH-C | HS code | 8530900000 |
Blaxtair 3 standard sensor head (Color) | ||
BXT3-SH-G | HS code | 8530900000 |
Blaxtair 3 high sensibility sensor head (Black & White) | ||


