1.2 DATASHEET WATERPROOF DISPLAY
Waterproof Display

Description
Waterproof display for Blaxtair 3
High Brightness 1000 nits
High Contrast 500:1
4:3 Aspect Ratio
Dust & Waterproof IP67
LED Backlight With Low Power Consumption
Auto Dimmer Function
Auto Power On/Off Function
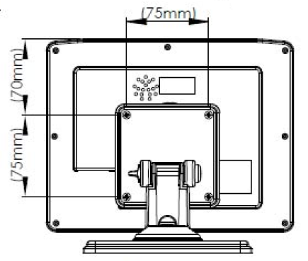
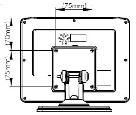
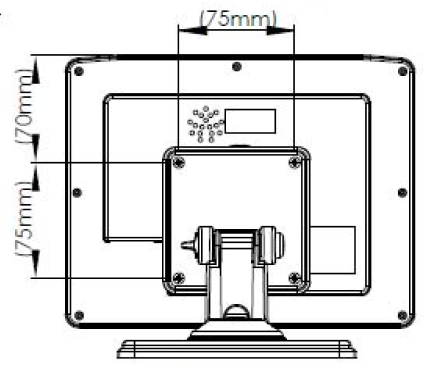
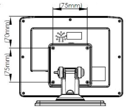
VESA Mountable 75 x 75mm
RoHS Compliant

Certifications and approvals
Standards | Type |
Water/dust protection | IP67 |
Marks | CE, FCC, E13, RoHS |
Region | Regulatory compliance/quality marks |
Europe | CE |
Installation/configuration notes
Front view | Back view |
![]() | ![]() |
Side view | |
![]() |
Technical specifications
Electrical
Rated voltage | 12-24 Vdc |
Input voltage | 9 - 36 Vdc |
Display
Size | 8" |
Type | TFT |
Backlight unit | LED |
Resolution | 800 x 600 |
Image format | RGB |
Brightness | 1000 nits |
Contrast | 500:1 |
Viewing angle | T: 50° / B: 70°, R/L: 70° |
LED life | 30 000 h min. |
Audio
Speaker | x1 |
Power | 1 W |
Mechanical
Display | |
|---|---|
Dimensions (Wx H x D) | 226 x 117 x 15.6 mm (8.9 x 4.6 x 0.6 in) |
Environmental
Operational Temperature | -20°C to +70°C (-4 °F to 158 °F) |
Storage Temperature | -30°C to +80°C (-22 °F to 176 °F) |
Ordering information
Display | ||
|---|---|---|
BXT-DISP-E-S0 | HS code | |
Blaxtair 3 waterproof display with metal stand, remote controller, and All-in-One cable | ||


