Skip to main content
Skip table of contents

1.2 DATASHEET WATERPROOF DISPLAY

Waterproof Display

image-20240704-135644.png

Description

Waterproof display for Blaxtair 3

  • High Brightness 1000 nits 

  • High Contrast 500:1 

  • 4:3 Aspect Ratio 

  • Dust & Waterproof IP67 

  • LED Backlight With Low Power Consumption 

  • Auto Dimmer Function

  • Auto Power On/Off Function 

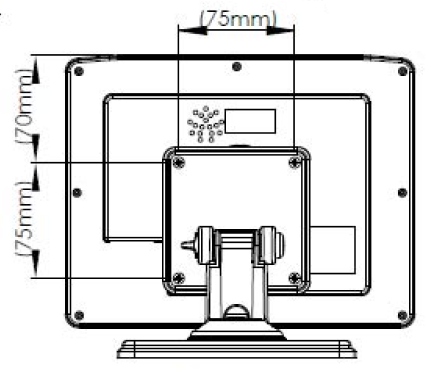
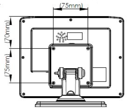
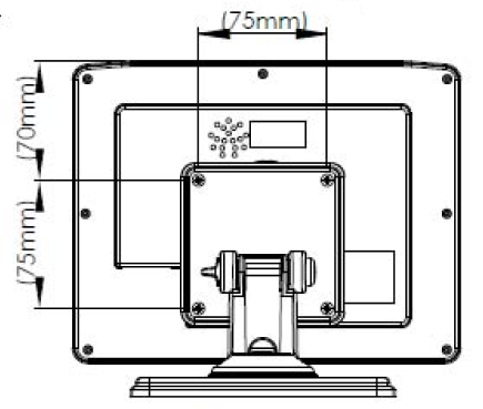
  • VESA Mountable 75 x 75mm 

  • RoHS Compliant  

image-20240704-135648.png

Certifications and approvals

Standards

Type

Water/dust protection

IP67

Marks

CE, FCC, E13, RoHS

Region

Regulatory compliance/quality marks

Europe

CE

Installation/configuration notes

 Front view

Back view

image-20240704-135653.png

image-20240704-135655.png

Side view

image-20240704-135704.png

Technical specifications

Electrical

Rated voltage

12-24 Vdc

Input voltage

9 - 36 Vdc

Display

Size

8"

Type

TFT

Backlight unit

LED

Resolution

800 x 600

Image format 

RGB

Brightness

1000 nits

Contrast

500:1

Viewing angle

T: 50° / B: 70°, R/L: 70°

LED life

30 000 h min.

Audio

Speaker

x1

Power

1 W

Mechanical

Display 

Dimensions (Wx H x D)

226 x 117 x 15.6 mm (8.9 x 4.6 x 0.6 in)

Environmental

Operational Temperature

-20°C to +70°C (-4 °F to 158 °F)

Storage Temperature

-30°C to +80°C (-22 °F to 176 °F)

Ordering information

Display

BXT-DISP-E-S0

HS code

Blaxtair 3 waterproof display with metal stand, remote controller, and All-in-One cable

JavaScript errors detected

Please note, these errors can depend on your browser setup.

If this problem persists, please contact our support.