1.2 DATASHEET ECRAN ETANCHE BXT3
Ecran étanche

Écran étanche pour Blaxtair 3
Luminosité élevée de 1000 nits
Contraste élevé de 500:1
Format d'image 4:3
Étanche à la poussière et à l'eau IP67
Rétroéclairage LED avec faible consommation d'énergie
Fonction de gradation automatique
Fonction de mise en marche/arrêt automatique
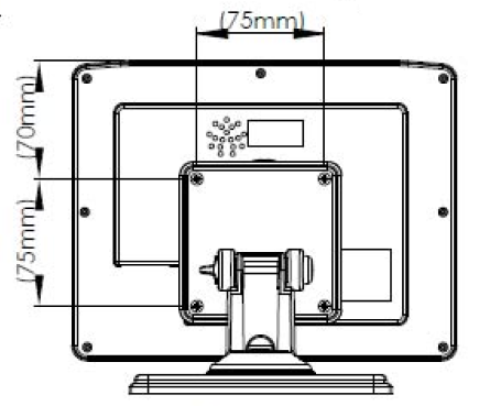
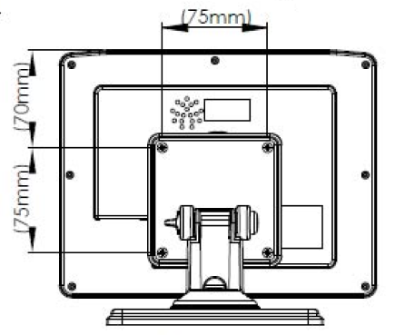
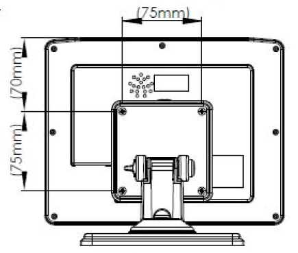
Montage VESA 75 x 75 mm
Conforme à la directive RoHS

Certifications et approbations
Standards | Type |
Protection à l’eau/ poussière | IP67 |
Marques | CE, FCC, E13, RoHS |
Region | Conformité réglementaire/marques de qualité |
Europe | CE |
Installation/configuration notes
Vue de face | Vue arrière |
![]() | ![]() |
Vue latérale | |
![]() |
Spécifications techniques
Électrique
Tension nominale | 12-24 Vdc |
Tension d’input | 9 - 36 Vdc |
Ecran
Taille | 8" |
Type | TFT |
Unité de rétroéclairage | LED |
Resolution | 800 x 600 |
Format Image | RGB |
Luminosité | 1000 nits |
Contraste | 500:1 |
Angle de vision | T: 50° / B: 70°, R/L: 70° |
Durée de vie des LED | 30 000 h min. |
Audio
Speaker | x1 |
Puissance | 1 W |
Mécanique
Ecran | |
|---|---|
Dimensions (Wx H x D) | 226 x 117 x 15.6 mm (8.9 x 4.6 x 0.6 in) |
Environnement
Température opérationnelle | -20°C to +70°C (-4 °F to 158 °F) |
Température de stockage | -30°C to +80°C (-22 °F to 176 °F) |
Informations de commande
Ecran | ||
|---|---|---|
BXT-DISP-E-S0 | HS code | |
Blaxtair 3 Écran étanche avec support en métal, télécommande et câble tout-en-un | ||


